Cuándo cambiar el cable del cargador
¿Qué vas a ver aquí?
¿Se te ha roto o ha dejado de funcionar el cable del cargador de tu móvil o tablet? Si bien no hay ningún cable ni ningún producto tecnológico que cien años dure, la verdad es que es un fastidio cada vez que el cable del cargador (o el cargador) da problemas. En este post te decimos cuándo deberías cambiar el cable del cargador y qué hacer para evitar tener que cambiarlo tan a menudo.
Compra tu cable en la tienda online de BEEP
¿Se ha roto el cable del cargador del móvil?
Tienes un cable de cargador listo para estrenar y al cabo de pocos meses o —en un escenario más optimista— en uno o dos años, te da problemas. Para que el cable falle no es necesario que hayas hecho ningún uso negligente del cargador: estirando del cable, doblándolo o sometiéndolo a temperaturas ambiente muy altas. La razón es que los cables de carga suelen ser poco duraderos.
Puede estar pasando alguna de estas cosas:
- El cable no funciona
- La conexión con el dispositivo móvil se ha deteriorado
- El cargador carga muy lento
- El cable se ha pelado

Cuando el problema es de conexión del cable con el móvil o tablet, o bien el cable está roto de forma manifiesta, la cosa está muy clara. En otros casos, es tan sencillo como probar un cable que sabes que está en buen estado con el adaptador del cargador que enchufas a la corriente. Si el móvil carga, el problema es el cable sobre el que tenías dudas. También puedes probar el cable que crees que no va bien, conectándolo al portátil o sobremesa, para ver si funciona.
Por supuesto, nunca te olvides de comprobar que el adaptador del cargador está bien conectado a la toma de pared. Y también debes asegurarte de que la toma de corriente en la pared funciona. Es decir, debes cerciorarte de que puedes conectar aparatos y de que estos funcionan, porque hay electricidad.
¿Puedo usar el cargador si el cable está deshilachado?
Por el uso, muchas veces el cable se pela. En otras palabras, en la cubierta exterior del cable se ha abierto un pequeño orificio o brecha, que se ha ido haciendo más grande. Por este motivo, los cables que van por dentro están a la vista y se podrían estar deshilachando.
Cuando un cable de cargador se está pelando, el cable está amortizado. Como casi todo, se puede reparar, pero teniendo en cuenta el bajo precio de estos accesorios, lo mejor es conseguir uno nuevo

¿Qué pasa si cargo el móvil con un cable pelado?
Lo ideal es que dejes de utilizar el cable de cargador que esté pelado y se esté deshilachando. Los riesgos de usar un cable de cargador pelado son los siguientes:
- Daños en la batería del dispositivo
- Electrocución
- Explosión del dispositivo que se está cargando e incendio
Mala conexión del cable del cargador
A veces te cuesta meter el cable del cargador en el móvil o tablet. No encaja bien, y te resulta muy difícil encontrar la posición en que puede haber proceso de carga.
Cuando hay una mala conexión, es muy probable que el cable del cargador se haya deteriorado. En este caso, urge reemplazar el cable de cargador dañado por uno nuevo
El móvil tarda mucho en cargar
Si el móvil tarda mucho en cargarse y el problema es el cable, consigue un nuevo cable que funcione.
A nadie le apetece esperar horas para que el móvil se cargue al 100%. Por otro lado, un proceso de carga tan lento también puede representar un peligro. Podría producirse un calentamiento excesivo, que podría dañar el dispositivo o reducir la capacidad de la batería.
Por tanto, si el proceso de carga es excesivamente lento, cambia de cable. Hazlo tanto por razones de conveniencia —menos tiempo de espera— como de seguridad
Si utilizas un cable que ralentiza el proceso de carga, no te olvides de desconectarlo tan pronto se haya cargado el móvil o tablet. Asimismo, también es bueno que vayas comprobando durante la carga si tanto el adaptador y el cable, como el dispositivo, se calientan demasiado. Si notas sobrecalentamiento, desconecta, y espera un rato antes de volverlo a probar.
¿Puedo arreglar el cable?
Todo se puede arreglar. Y cuando tienes los conocimientos adecuados, arreglar es una buena idea. Pero cuando se trata de cables de cargador, o de cables de carga claramente deteriorados, lo mejor es conseguir un cable nuevo. Estos componentes suelen ser económicos.
Consigue un nuevo cable de carga de calidad
Cuando cambias de cable, piensa en comprar un cable de calidad. Por tanto, siempre es mejor comprar cables originales o cables que ofrezcan solvencia y durabilidad.
Cables de carga reforzados
Un cable de cargador reforzado está diseñado para aguantar un uso y una manipulación constantes. No pasa nada si lo dobla. En comparación con un cable más convencionales, tiene una mayor durabilidad.
Lo que debes tener claro es que en lugar de invertir 10 o 15 euros, es probable que tengas que invertir entre el doble y el triple de ese precio.

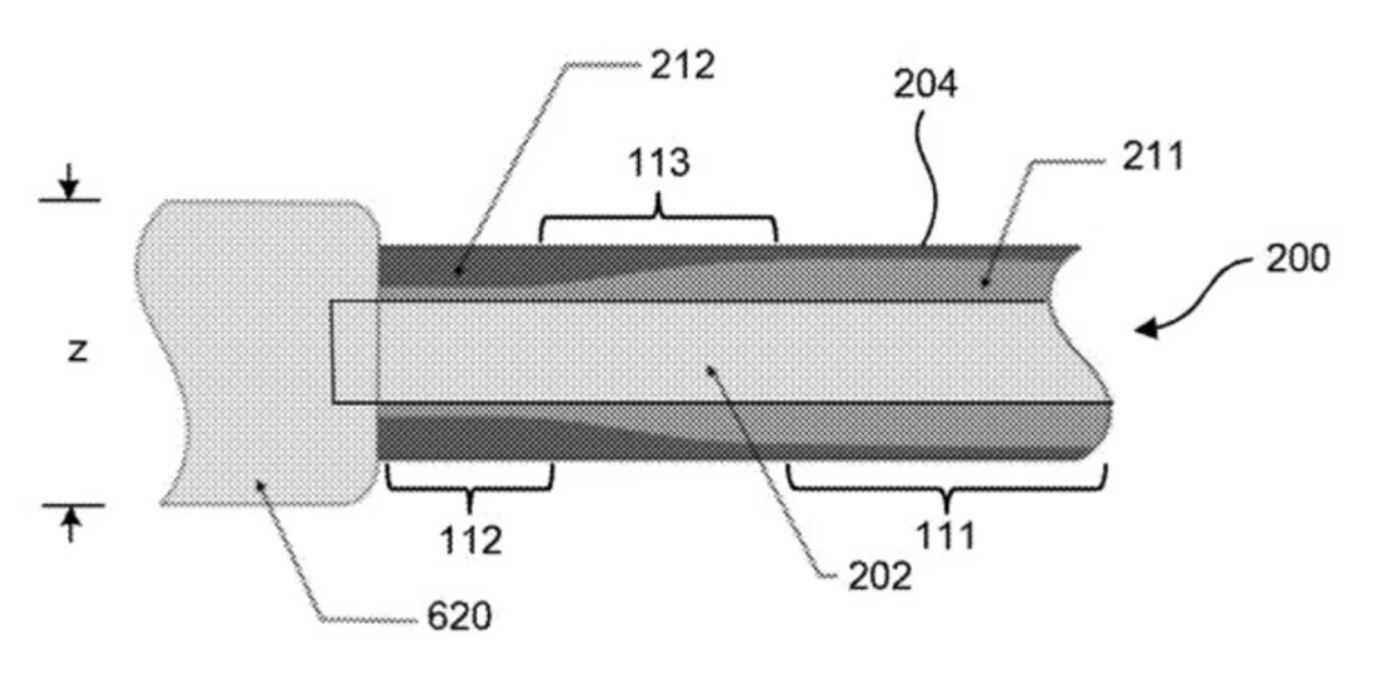
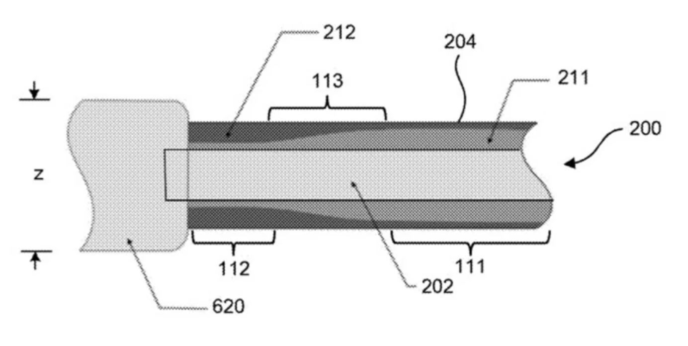
En 2021, se supo que Apple estaba desarrollando un cable de Lightning de más calidad porque presentó la patente correspondiente. Para los expertos en tecnología, este desarrollo de Apple demuestra que la industria tecnológica es consciente de la fragilidad de los cables de carga.
Cable de carga rápida
Ya que cambias de cable de carga, una buena idea es probar un cable de carga rápida.
Cuida el cable del cargador
Todos los cables de cargador se deterioran. Pero esa corta fecha de caducidad no significa que debas tratar mal el cable. Si lo tienes que guardar, hazlo con delicadeza y no de cualquier manera. Los cables de cargador hay que envolverlos de forma suave, porque ya hemos visto que son bastante frágiles. También se venden protectores que se colocan a los extremos del cable.
Otro consejo es que evites poner cualquier cable en un lugar con altas temperaturas.